iPhone|组装电脑看过来,十代i5处理器到手评测,对比锐龙3600你会怎么选呢?

文章图片

文章图片

文章图片

文章图片

文章图片
3600加华硕重炮手
intel今年作为主流级的i5十代桌面处理器 , 自从五月份发布以来价格一降再降 。 成为中端主流玩家的甜品级处理器 。 那么因特尔十代处理器究竟表现如何呢 , AMD家的3600是否继续YES , 今天小编给大家做一个i5 10500与R5 3600的简单对比 。
10500加微星迫击炮
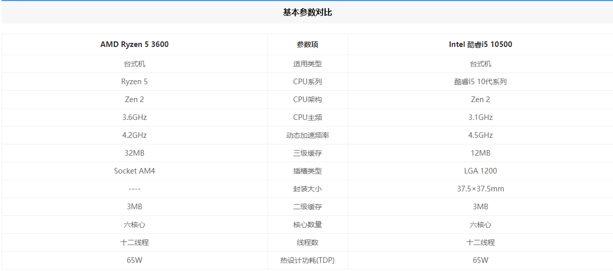
首先 , 先看两者的参数对比:
【iPhone|组装电脑看过来,十代i5处理器到手评测,对比锐龙3600你会怎么选呢?】单从参数上对比 , 10500以动态频率高出0.3GHz胜出 , 且i5 10500自带UHD 630核显足以应对办公使用胜出 。
价格方面淘宝散片10500略贵 , 但是差价不到一百元 。
下面开始跑分对比:
我们的测试平台分别是锐龙R5 3600(原装散热)搭配华硕B450重炮手 , 酷睿i5 10500搭配微星B460迫击炮wifi版本 。 为了控制变量内存条显卡等两者都是一样的 。
10500CUP-Z跑分
锐龙3600默频 CPU-Z跑分
锐龙3600超频后的CPU-Z的跑分
从简简单单的跑分可以看出默频情况下10500单核胜出 , 锐龙3600多核胜出 。 理论上(注意是理论上)玩游戏10500略强 , 生产力渲染方面锐龙3600胜出 。 超频时锐龙3600胜出 , 但是二代锐龙超频提升不大 , 建议除非真的有特殊需要 , 大家尽量不要超频(特别是小白) 。
当然评断一个处理器的好坏 , 不能只是简简单单跑跑分 , 日常体验还是比较重要的 。
锐龙3600缺点:积热问题严重 , 小编在不玩游戏的情况下CPU温度在45到55度之间忽高忽低 , 这对强迫症的人来说绝对是致命的 。 然后就是开机自检 , 使用西部数据黑盘SN750开机时间依然是20秒左右 , 其中大部分时间用在了开机自检上 。 其次就是游戏和软件等的适配问题 。
十代i5 10500日常使用没有超过40度 , 搭配微星主板开机十秒左右相对3600自检时间还是挺短的 。
两者作为中高端处理器日常使用都是非常流畅且丝滑 。 上面仅仅是小编的亲身体会 , 并不是黑谁捧谁 , 当然上面3600的部分缺点也是可以通过锁功耗墙等来解决的 。
简简单单灯效图
划重点总结:打游戏的小伙伴选择十代i5(10400f 10400 10500 10600) , 一心想着生产力熏染喜欢搞机的选择锐龙3600 3600X 。 如果是小白无脑选择英特尔!
图片来自网络若有不当联系删除
图片来自网络若有不当联系删除
此文并非引战 , 以上仅仅个人见解 , 不妥之处请大家指正 。
推荐阅读
- 脑梗死|脑梗死和喝酒有没有关系呢?爱喝酒的朋友,应该看看
- 火星|拍摄11064张照片后,火星毅力号看到了什么?这次还真看到了
- 早餐的新吃法,“透明饺子”简单好学,孩子看了都超级爱吃!
- 五彩缤纷的卷饼,看着太有食欲啦,做法简单又好吃
- 孩子特爱吃的煎饼,颜色鲜艳,营养美味,2分钟出锅,看到就想吃
- 1碗面粉2个鸡蛋,教您做电饭锅面包,一看就会,简单好吃零失手
- 地球|地球是一颗多大的行星?看看这10张太阳系天体对比图
- 手把手教你做手抓饼,详细做法,新手看了想不会都难,和卖的一样好
- 玉米面也能做开花馒头,松软香甜,比面包还好吃,看完就能会
- 一看就会的几道硬菜,学会了你就是大厨
