开奖|20067期双色球开奖结果,二等奖140注,彩民:中奖梦何时才能实现
双色球20067期开奖结果,二等奖140注,彩民:中奖梦何时才能实现?
自律,是一个自我完善的过程,其中必然经历痛苦,但只要你开始学会对自己有一点点的克制,人生就会逐渐变得强而有力。早起读书,虽然起床的片刻痛苦,但一天结束时却内心充实;熬夜刷剧,放纵的当下虽然快乐,但临睡前却常常愧疚自责。

文章图片
每一种生活都有各自的轨迹,记得肯定自己,不要轻言放弃!每一个清晨都是希望的开始!人生的顶峰一定有你!清晨,给自己一个微笑,种下一天的阳光!人生,每一份坚持都是成功的累积,只要相信自己,总会遇到惊喜 !

文章图片
一转眼时间已经来到了星期四的晚上,就在今天晚上的10:30左右,双色球最新一期的开奖结果公布了。双色球第20067期开出的开奖号码是:040709232730+08。双色球第20067期的销量为:353153516元。奖池滚存为:1061790227元。

文章图片
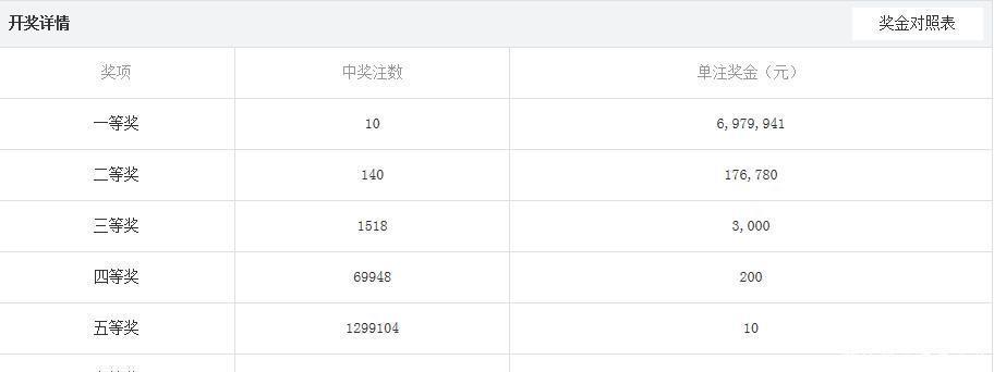
双色球第20067期的开奖详情是:一等奖的中奖注数开出了10注,每注奖金有6979941元。二等奖的中奖注数开出了140注,每注奖金有176780元。三等奖的中奖注数开出了1518注,每注奖金有3000元。四等奖的中奖注数开出了69948注,每注奖金有200元。五等奖的中奖注数开出了1299104注,每注奖金有10元。六等奖的中奖注数开出了8502701注,每注奖金有5元。

文章图片
双色球第20067期的开奖结果公布出来之后,某彩票论坛上的一位老彩民就立刻留言说:“中奖梦何时才能实现?我相信每一个彩民都有一个中一等奖的梦想,但是这个梦想能不能实现真的不确定,有些人坚持了10多年,也没有中过一等奖,趁年轻还是把自己的血汗钱攒下来吧,不要再浪费了!”

文章图片
【 开奖|20067期双色球开奖结果,二等奖140注,彩民:中奖梦何时才能实现】我们可以看到双色球第20067期的开奖结果还是不错的,一等奖开出了10注,算是比较多的了,不知道屏幕前的你在这一期中有没有中奖呢?
推荐阅读
- 喜中|大悟彩民喜中双色球大奖1168万元!
- 河南|双色球井喷27注584万头奖
- 图片|双色球2020076期四站机选(图片)
- 大奖|20021期大乐透开奖结果今天公布,这一次,大奖花落谁家?
- 此地|双色球077期一等奖爆出27注,被8个地区所中,此地独揽11注
- 玩彩|福彩玩彩PK,击中104544元双色球大奖
- 开奖|开奖啦!10人平分5000万纽币!你是其中之一吗?
- 神速|90后小伙中双色球头奖752万 神速领奖
- 开奖|20073期双色球开奖结果,二等奖129注,彩民道,头脑终于清醒了
- 双色球|10元拿下双色球二等奖25万 一号之差失千万大奖
