|最新疫情:新增10例境外输入病例

文章图片
【|最新疫情:新增10例境外输入病例】
10月2日国家卫健委官方网站消息 , 10月1日0—24时 , 31个省(自治区、直辖市)和新疆生产建设兵团报告新增确诊病例10例 , 均为境外输入病例(四川3例 , 福建2例 , 广东2例 , 上海1例 , 重庆1例 , 陕西1例);无新增死亡病例;无新增疑似病例 。
31个省(自治区、直辖市)和新疆生产建设兵团报告新增无症状感染者33例(均为境外输入);当日转为确诊病例1例(为境外输入) 。
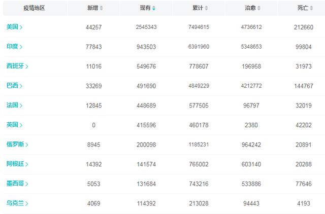
全球累计确诊病例达3437万例 , 累计死亡102万例 。 印度单日新增7.7万例 , 美国、巴西、法国、阿根廷新增过万 。
推荐阅读
- 疫情期间经常吃泡面、面条对人有哪些影响?营养师告诉你正确吃法
- 洋葱的最新吃法,好吃又好消化,简直太有食欲了
- 抑郁|最新报告:无业失业退休人群抑郁水平最高
- 疫苗|最新《细胞》确认!多种新冠变异病毒,可抵抗疫苗产生的抗体
- 疫苗接种|重磅!关于疫苗接种,天津最新消息来了!
- 富豪|高学历富豪正摆脱寿命枷锁?美最新研究:学历越高,寿命越长
- 疫情期间做,外酥里嫩,鲜香可口,滋味丰富,尤其小孩子最喜欢吃
- 颈椎病|后疫情时代,颈椎病的问题不容忽视
- 疫苗接种|关于疫苗接种,最新通报
- 发面饼最新吃法不用擀也不用揉,简单又营养,比肉都香
