QQ|QQ上线青少年模式,聊天显示拼音家长可管控,微信儿童版或也要来了
18日,腾讯称,QQ已上线青少年模式。该模式下,聊天显示拼音;自动屏蔽无效搜索信息,只可以搜到现有联系人及聊天记录;QQ看点仅推送学习内容。另外,家长还可进行管控,“短信验证锁”默认关闭,打开后,进入高级设置以及退出青少年模式均需要手机短信验证。你觉得这个模式能规范青少年触网吗?
![]()
文章图片
延伸阅读:微信儿童版要来了?腾讯被曝正申请商标,网友提出这些要求微信儿童版要来了?9月15日,一则关于“腾讯申请微信儿童版商标”的消息冲上热搜,引发网友的关注。

文章图片
据报道,微信方面正在进行微信儿童版的开发。如今最新动态出来,不少网友期待,微信儿童版是否即将面世?
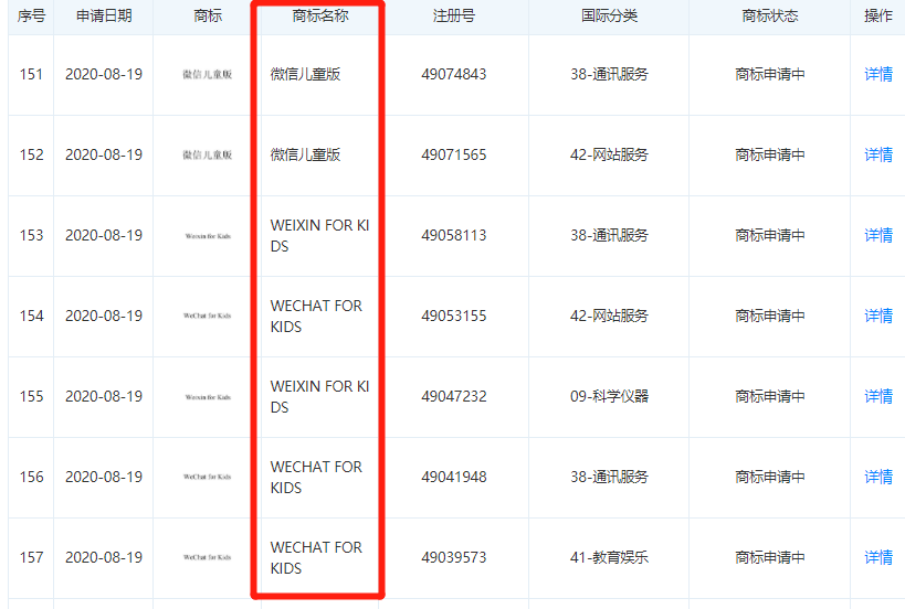
腾讯申请微信儿童版商标天眼查资料数据显示,8月19日,腾讯科技(深圳)有限公司申请注册多项“微信儿童版”及“WEIXIN FOR KIDS”商标。国际分类分别为“38-通讯服务”“41-教育娱乐”“09-科学仪器”等。商标状态均显示为“商标申请中”。

文章图片
此前,据报道,微信方面正在进行微信儿童版的开发,目前已经进入内测阶段。
网友评论:简洁点,广告少些!微信这一则新动态,引起网友的热议。微博已有超2.3亿关注。有的网友直言要用,认为这多了种选择,儿童版微信应该要简洁些,广告少些。
也有的人认为这很有必要,“儿童版如果不能登陆王者荣耀啥的,不能注册相关游戏账户,也不错。”

文章图片
但有的人则表示,腾讯“终究还是要对小学生下手了 ”。

文章图片
而讨论最多的,还是追问几时可以安排一个老年版的?不少网友认为,老年人总是堆积一堆信息,每次都需要家里人清理空间。

文章图片
要跟小天才电话手表打架?此外,还有不少网友发出疑问:微信儿童版要和步步高小天才手表打架了嘛?

文章图片

文章图片
的确,在我国15岁以下的儿童高达2.5亿,是一块非常大的市场。在国家统计局2019人口数据解读中,2019年末,全国0~15岁人口为24977万人,占总人口的17.8%。
此前,针对低龄群体的社交和安全需求,儿童手表解决了这个痛点,并且随着低龄群体数量的增加,相关的需求也在不断加大。据极光大数据的资料显示,截至2019年2月,儿童智能手表app的用户规模达4630万,较去年同期增长近50%。
步步高小天才手表为当中的龙头。2015年小天才出货量达107.6万台,2016年达360.4万台,出货量同比增长234.9%。2018年出货量为2167万台,2019年出货量为604.5万台。2019 年 7 月小天才推出旗舰产品 Z6,首发之日一个小时内销售额便突破 1000 万元,儿童手表行业如此热闹的场景着实罕见。

文章图片
据悉,该手表既具有定位功能又能打电话的手表等基础功能,而且有视频通话、社交、运动计步等,慢慢趋向安全+娱乐+健康。
因而,此次腾讯或许推出的微信儿童版,难免让人联想到,腾讯是否要跨界杀入低龄群体。

文章图片
不过,市场也有声音认为,也许微信儿童版就会用在儿童智能手表。
微信用户已超12亿据腾讯近期发布的2020年第二季度及上半年业绩报告,截至2020年6月30日,微信及 WeChat 的合并月活跃账户数已高达12.06亿,同比增长6.5%,环比增长0.3%。

文章图片
标题:【QQ|QQ上线青少年模式,聊天显示拼音家长可管控,微信儿童版或也要来了】在如此大量的用户当中,存在着大量的未成年用户,如何能够让未成年人可以更“健康”地使用微信成为了社会各界关注的焦点。
随着微信功能的日趋强大,再加上受疫情影响,云学习方式已经成为不少青少年的日常,但身处社交化、信息化的时代,能拥有免受外界干扰的沉浸式环境,集中精力进入深度学习,已经成为学生的学习诉求。
但微信作为一个月活10亿级别的APP,里面有微信公众号,微信小程序,微信小游戏、微信看一看等等。每天会产生海量的信息,而这些信息很有可能包含一些对未成年人有害的信息。而使用微信的未成年用户很有可能直接接触到这些有害信息。
(_原始标题:QQ上线青少年模式:聊天显示拼音)
来源:综合中国新闻网 中国经济网微信公众号
流程编辑:TF020
推荐阅读
- 电休克|电休克用于儿童青少年患者的疗效及安全性|研究简报
- 类人猿|每天喝8杯水?其实我们喝得很少了!科学家发现人类已演化出“低流量”模式
- 南阳|南阳开启升温模式,再遇20℃的暖~
- 威海|海丽气象吧丨最高温17℃!本周威海开启升温模式
- 气温|阳光不争宠 气温略回升 持续阴天将上线
- 前列腺癌|前列腺癌“过山车”疗法:BAT序贯新型抗雄或是最佳模式
- 衡水|衡水开启升温模式,未来几天……
- mp|改善Noah-MP陆面模式陆气耦合强度研究获进展
- 儿童|南通市首个儿童青少年专科门诊开诊
- 冰岛_社会|冰岛一周地震17000次,随时可能再震,传说中的震动模式?
