|江苏一公司粗暴发工作证后大批员工离职,专家:公司涉嫌侵犯员工人格
江苏昆山的世硕电子(昆山)有限公司工作人员给新员工发证件时,随手将员工证件丢在地上,新员工只能弯腰去捡。
![]()
文章图片
9月5日
相关视频在网上传播后
引发网友愤怒
网友认为该公司涉嫌歧视员工
该公司回应
单位管理人员失职
主管率团队向员工致歉
标题:【|江苏一公司粗暴发工作证后大批员工离职,专家:公司涉嫌侵犯员工人格】楚天都市报采访人员了解到
已有大批员工从该公司离职

文章图片
乱扔证件让新员工弯腰捡主管团队向员工致歉视频内容显示,三个男子站在一个桌子前面,两个男子身穿红色马甲,一男子身穿白色短袖露出肚脐,靠当中一男子手持话筒念着员工名字,念到一个名字,就向地上扔一个员工证件。很多人弯腰捡起地上的证件,可以看到,一人弯腰从地上捡起自己证件的同时,另一人的证件从他眼前飞过。
当天有多人将该视频上传到抖音平台,引发网友热议,“尊重自己,尊重他人”“工资记得要回啊”“没有尊严的工作,宁可不做”“公司与员工应该平等”……
当天该公司回应,事件正在调查中,调查结果将对外公布。5日下午,世硕电子(昆山)有限公司发布声明,单位管理失职,主管团队向员工致歉。
网传的一份世硕电子(昆山)有限公司开具的《关于网传负面新闻的说明》称:对于我司新人培训单位,因招工旺季场地受限,现场管理不到位,工作人员以不当的方式发放员工证件,致使新人不受到尊重,我司深表震惊与遗憾,因此事造成社会大众不良观感及负面影响,在此表达万分歉意!针对此事,我公司立即调查并作出以下承诺:1.单位管理人员失职,主管率团队向员工致歉,请求对于管理失当的谅解;2.重新审视及完善培训人员的管理及教导,把关爱员工的理念贯穿始终;3.加强主管现场巡视与监督;4.当事员工不当作为,依厂规处理。

文章图片
多名员工离职公司涉嫌侵犯员工人格天眼查显示,世硕电子(昆山)有限公司又名世硕电脑科技(昆山)有限公司,坐落于昆山开发区精密机械工业园,母公司为和联集团。主要从事高科技电子产品的生产,为全球五大笔记本电脑生产企业之一,公司拥有世界级工程技术研发团队,为消费者、企业用户提供最具创新的科技解决方案,母公司和硕联合科技股份有限公司为台湾华硕电脑股份有限公司之关系企业,目前和硕集团除了在浦东新区康桥已注册三家公司外,于昆山建立的世硕科技构成“和联/永硕华东营运中心”,总投资6.27亿美元,包括世硕科技(昆山)有限公司。

文章图片
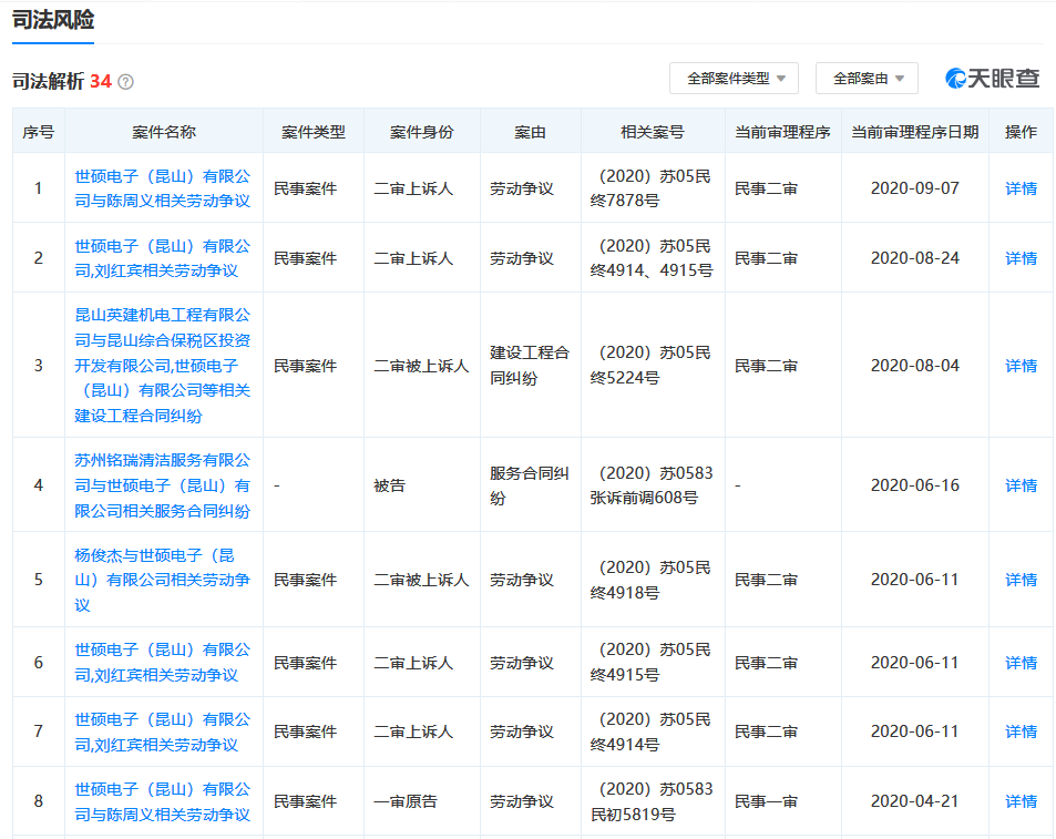
另据天眼查显示,该公司自今年4月以来,已有8起劳动争议案。
该公司员工小吴(化名)告诉采访人员,他今年21岁,2018年进入该公司,昨天已经向公司领班提出辞职并得到同意,9月6日上完最后一天班后就要离开。小吴来自广州,他之所以离职一方面是因为5日的视频让他对该公司的企业文化比较失望,另一方面也有个人打算。“三点一线的工作制,上班就是为了下班,天天同样的氛围,说到底就是能接受就做。”小吴说,他的月工资最高能拿到4700元,平均每个月4300元左右,扣除水电等费用后到手3900元左右。
前公司员工小李(化名)告诉采访人员,自己今年6月份曾入职该公司,从面试到上班,就在那呆了四五天。当时离开的原因是被分错班,但相关领导推卸说是下面员工责任,最后无奈只好离职。印象比较深刻的是那里的饭菜比较贵,一顿八块,全素。
昆山当地一曾从事人力中介工作人员介绍,现在是招工难的季节,很多企业会推出一种“返费”的政策。所谓“返费”就是公司承诺,新员工如果在厂方工作到一定期限,就可以拿到一笔钱,一般是一万五千块左右。因此很多求职者会因为“返费”的吸引,而应聘公司。
采访人员拨打该公司工商系统登记过的两个电话,一个无人接听,另外一个已经停机。
武汉大学城市安全与社会管理研究中心特聘教授尚重生表示,代表公司的管理人员在发放新员工证件时,将多名新员工的证件随手丢在地上,让多名新员工弯腰去捡的行为,可认为是理性状态下,有预谋的选择性行为。从该公司的行为来看,已经侵犯了新员工的人格权。也反映了资方的无理和傲慢,劳动者的劣势地位和不受尊重。
网友评论:![]()
文章图片
![]()
文章图片
![]()
文章图片
![]()
文章图片
(_原始标题:昆山一电子厂粗暴发工作证后,大批员工离职......)
推荐阅读
- 百度|AI公司百度能给港交所带来什么?
- 1碗面粉,不加水,锅里蒸一蒸,做香甜可口的发糕,比蛋糕还香
- 教你自制岩烧乳酪
- 春天湿气重,多喝这碗糖水,祛湿清热又甘甜,我隔两天喝一次
- 从小就馋此口,比肉香多了,几块钱做一大盘,咋吃都不腻
- 别再买坚果零食吃了,自己在家就能做,酥脆香甜,没有一点苦涩味!
- 剩米饭别再炒了,试试这样做,比蛋炒饭好吃一百倍
- 一碗糯米,半个南瓜,香甜软糯,好吃不上火,比南瓜饼香,太好吃
- 南瓜新吃法,不放面粉,柔软香甜,咬一口满嘴香,隔三差五做一次
- 3月必吃的6种「春菜」,降压减脂又刮油,错过又要等一年
