MySQL|mysql读写分离

面试题你们有没有做 MySQL 读写分离?如何实现 MySQL 的读写分离?MySQL 主从复制原理的是啥?如何解决 MySQL 主从同步的延时问题?
面试官心理分析高并发这个阶段 , 肯定是需要做读写分离的 , 啥意思?因为实际上大部分的互联网公司 , 一些网站 , 或者是 app , 其实都是读多写少 。 所以针对这个情况 , 就是写一个主库 , 但是主库挂多个从库 , 然后从多个从库来读 , 那不就可以支撑更高的读并发压力了吗?
面试题剖析
【MySQL|mysql读写分离】
如何实现 MySQL 的读写分离?
其实很简单 , 就是基于主从复制架构 , 简单来说 , 就搞一个主库 , 挂多个从库 , 然后我们就单单只是写主库 , 然后主库会自动把数据给同步到从库上去 。
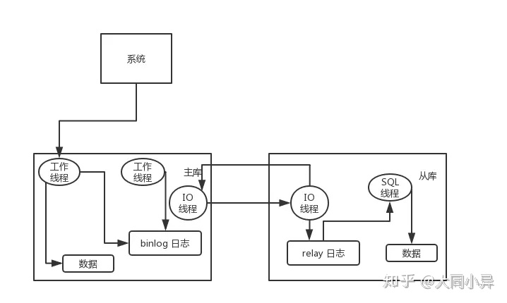
MySQL 主从复制原理的是啥?主库将变更写入 binlog 日志 , 然后从库连接到主库之后 , 从库有一个 IO 线程 , 将主库的 binlog 日志拷贝到自己本地 , 写入一个 relay 中继日志中 。 接着从库中有一个 SQL 线程会从中继日志读取 binlog , 然后执行 binlog 日志中的内容 , 也就是在自己本地再次执行一遍 SQL , 这样就可以保证自己跟主库的数据是一样的 。
这里有一个非常重要的一点 , 就是从库同步主库数据的过程是串行化的 , 也就是说主库上并行的操作 , 在从库上会串行执行 。 所以这就是一个非常重要的点了 , 由于从库从主库拷贝日志以及串行执行 SQL 的特点 , 在高并发场景下 , 从库的数据一定会比主库慢一些 , 是有延时的 。 所以经常出现 , 刚写入主库的数据可能是读不到的 , 要过几十毫秒 , 甚至几百毫秒才能读取到 。
而且这里还有另外一个问题 , 就是如果主库突然宕机 , 然后恰好数据还没同步到从库 , 那么有些数据可能在从库上是没有的 , 有些数据可能就丢失了 。
所以 MySQL 实际上在这一块有两个机制 , 一个是半同步复制 , 用来解决主库数据丢失问题;一个是并行复制 , 用来解决主从同步延时问题 。
这个所谓半同步复制 , 也叫semi-sync复制 , 指的就是主库写入 binlog 日志之后 , 就会将强制此时立即将数据同步到从库 , 从库将日志写入自己本地的 relay log 之后 , 接着会返回一个 ack 给主库 , 主库接收到至少一个从库的 ack 之后才会认为写操作完成了 。
所谓并行复制 , 指的是从库开启多个线程 , 并行读取 relay log 中不同库的日志 , 然后并行重放不同库的日志 , 这是库级别的并行 。
MySQL 主从同步延时问题(精华)以前线上确实处理过因为主从同步延时问题而导致的线上的 bug , 属于小型的生产事故 。
是这个么场景 。 有个同学是这样写代码逻辑的 。 先插入一条数据 , 再把它查出来 , 然后更新这条数据 。 在生产环境高峰期 , 写并发达到了 2000/s , 这个时候 , 主从复制延时大概是在小几十毫秒 。 线上会发现 , 每天总有那么一些数据 , 我们期望更新一些重要的数据状态 , 但在高峰期时候却没更新 。 用户跟客服反馈 , 而客服就会反馈给我们 。
我们通过 MySQL 命令:
show status
查看 Seconds_Behind_Master , 可以看到从库复制主库的数据落后了几 ms 。
一般来说 , 如果主从延迟较为严重 , 有以下解决方案:
- 分库 , 将一个主库拆分为多个主库 , 每个主库的写并发就减少了几倍 , 此时主从延迟可以忽略不计 。
- 打开 MySQL 支持的并行复制 , 多个库并行复制 。 如果说某个库的写入并发就是特别高 , 单库写并发达到了 2000/s , 并行复制还是没意义 。
- 重写代码 , 写代码的同学 , 要慎重 , 插入数据时立马查询可能查不到 。
- 如果确实是存在必须先插入 , 立马要求就查询到 , 然后立马就要反过来执行一些操作 , 对这个查询设置直连主库 。 不推荐这种方法 , 你这么搞导致读写分离的意义就丧失了
推荐阅读
- 超能网|PNY推出PCIe 4.0 SSD XLR8 CS3040,读写分别为5,600 MB/s和4,300 MB/s
- 新阁教育|S7.NET+Log4Net+SQLSugar+MySQL搭建Iot平台
- 显示器|这个MySQL优化原理剖析,比照X光还清楚
- MySQL|MySQL代码开发和调试利器CLion
- |最强固态硬盘国内上市读写性能无敌,价格很感人
- MySQL|做自媒体该如何选择领域,自媒体如何做
- MySQL|Mac 使用技巧:无需下载软件,就能截图和录屏
- 邮票|中国首枚NFC芯片邮票问世!世界首枚实现芯片读写的邮票
- 安卓|两块硬盘一起读写?奥睿科M.2 NVMe双盘位固态硬盘盒使用评测
- 硬盘盒|两块硬盘一起读写?奥睿科M.2 NVMe双盘位固态硬盘盒使用
