人无语|双色球20083期开奖结果,一等奖7注,彩民道:这号码让人无语!
双色球20083期开奖结果,一等奖7注,彩民道:这号码让人无语!
人生的许多成功,往往就是在最困顿的时候到来的。心有迷茫,也是一件好事。只有前进的步伐才会迷路。人生有迷茫,说明你在探索,只是暂时没有方向。人,不怕迷茫,就怕没有迷茫感的停滞不前。坚持下去,越是迷茫,越不要轻易地放弃,迷茫越久,找到方向的可能性越大。

文章图片
生命之于人,本就是一场孤行的旅程,是悲是喜,都靠自己去感悟,累了,就悄悄歇息,烦了,就轻轻放松。独自前行的路上,我们终会逐渐领悟到,人生就是一次自我完善挑战自我的穿行。人活一世,生若夏花,命似草木,多份淡然与真实,少些虚荣和浮华,就会活得自在和轻松。

文章图片
哈喽,各位彩民朋友们,大家晚上好。就在今天晚上的10:30左右,双色球最新一期的开奖结果公布了。双色球第20083期开出的开奖号码是:011925263031+12。双色球本期的销量为:375628538元。奖池滚存为:1046377044元。

文章图片
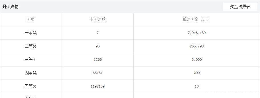
双色球本期的开奖详情是:一等奖的中奖注数开出了7注,单注奖金有790万余元。二等奖的中奖注数开出了96注,单注奖金有26万余元。三等奖的中奖注数开出了1266注,单注奖金有3000元。四等奖的中奖注数开出了63131注,单注奖金有200元。五等奖的中奖注数开出了1192139注,单注奖金有10元。六等奖的中奖注数开出了10729153注,单注奖金有5元。

文章图片
双色球第20083期的开奖结果公布出来之后,彩票店里有一位老彩民就立刻说道:“这号码让人无语!没想到这一期居然开出了两组连号,真是让人万万没想到啊,哎,可惜的是我连一个号码都没有猜对,今天又赔了!”

文章图片
【 人无语|双色球20083期开奖结果,一等奖7注,彩民道:这号码让人无语!】在双色球第20083期的开奖结果中,双色球一等奖开出了7注,并不是很多。那么你在双色球第20083期中有没有中奖呢?欢迎大家在评论区里留言哦!
推荐阅读
- 结核|再见吧,“结核君”
- 米歇尔·戴斯玛克特|海奥华预言的真相,地球人被带到九级文明,揭开神话背后的秘密
- 扇贝最好吃的做法,适合冬日里吃,做法简单好吃不腻,家人超爱吃
- 这款蛋黄肉松面包,柔软又香甜,吃过的人都说好!
- 苹果蛋挞,香甜中淡淡的酸,香酥诱人!
- 精河县精深加工,把每颗枸杞都“吃干榨尽”!
- 做蛋炒饭,先炒蛋呢还是先炒饭呢很多人做的不对,难怪不好吃
- 萝卜做饺子馅时,到底要不要焯水?很多人都不清楚,吃完告诉家人
- 粒子|人体本身是由一堆粒子组成,怎么会产生思想?
- 显微镜|假如人类可以把显微镜提升到40亿倍,是不是全新的宇宙观?
