南京|明朝留都南京的“六部”是怎么回事,又有哪些权限呢
_原题是:明朝留都南京的“六部”是怎么回事 , 又有哪些权限呢
明朝这个朝代有一项很有趣的制度 , 那就是明朝在北京和南京都有一套班子 , 也就是各有一套六部 。 众所周知 , 六部是中国从唐代以后管理国家的最重要机构 , 各部分管不同的区域 。
那么明朝在南京的六部平时都干些什么?作为陪都的衙门 , 南京六部又有哪些权限呢?我们不妨一起来看看 。

文章图片
上图_ 明太祖朱元璋半身像 乾隆御制本
- 南京与北京
由于古代江浙的经济优势冠绝南方 , 所以占据南京就等于拥有了江浙的财富根基 , 因此朱元璋也能够在处于四战之地的情况下游刃有余 , 扫平了陈友谅张士诚 , 进而北伐中原 。
但是这并不代表朱元璋对定都南京是完全满意的 , 其实在朱元璋的心里 , 南京过于偏安一隅 , 不能够稳定全国 , 所谓“以金陵为南京 , 大梁(开封)为北京 , 朕于春秋往来巡守” 。 但是洪武十一年 , 朱元璋经过深思熟虑之后认为 , 大梁也就是开封由于地理位置是四战之地 , 并不适合成为都城 , 但是朱元璋从未放弃过寻找新的都城 , 他的目标有三个:“洛阳 西安 北平” 。 这三个城市各有优势 , 不过朱元璋还没来得及做好决定就去世了 。

文章图片
上图_ 靖难之役
朱棣发动靖难之役夺取皇位之后 , 他开始琢磨迁都问题 , 原因也很简单 , 毕竟北京是自己的“龙兴之地” , 自己从北京发动靖难之役打进南京 , 所以他非常的想给自己的承继大统加上一个合理的理由 , 所谓“自昔帝王 , 或起布衣 , 平定天下 , 或外藩入承大统 , 而于肇迹之地 , 皆有升崇 。 ”
另一方面北京地理位置更加利于对抗蒙古 , 控制北方 , 所以朱棣决定迁都 , 到了永乐十八年 , 北京宫殿营建完毕 , 朱棣彻底决定迁都北京 , 而且改南京为留都 。
但是这并不代表明朝从此就把北京当成唯一的都城了 , 朱棣死后明仁宗朱高炽一度想要迁都回到南京 , 后来明宣宗及时叫停 , 从此北京的地位才开始稳固 。 但是都城迁了 , 并不代表机构也完全搬过来了 , 当时的情况是南京的衙门由于在迁都过程之中还得审理案子 , 维持全国运转 , 所以就没有裁撤 , 但是迁都完成之后南京衙门就没用了 , 所以永乐后期南京的六部前面全部加上“南京”二字 , 这样也就形成了明朝独具特色的南京六部 。

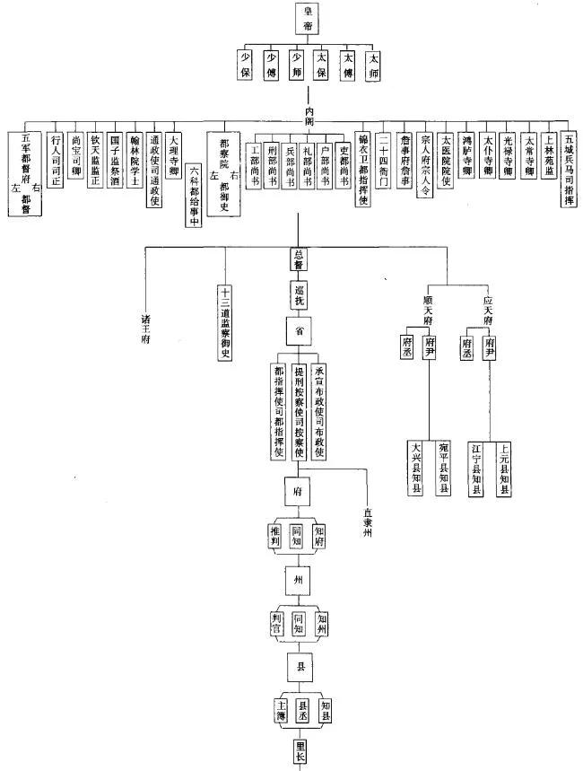
文章图片
上图_ 明代官制简表
- 不管事也管事
这些机构南京也是有的 , 不过南京的六部是没有左侍郎的 , 吏部的衙门也没有员外郎 , 南京都察院也没有左都御史 , 然而南京的六部平时基本上没有什么事 , 比如南京刑部只能管理南京的案件 , 别的地方的案件无权审理 , 南京的吏部也是只能考核南京地区的官员 。 大部分的南京衙门都是养老的圣地 , 大家从北京退休就到南京享受待遇 , 不亦乐哉 。

文章图片
上图_ 明南京城
但是这并不代表南京的衙门就不重要了 , 作为巩固帝国陪都的系统 , 南京六部在关键时刻(比如说清兵入关)还是能发挥作用的 , 至少直接就能接管半壁江山 。 不过平时南京的最高行政机构却不是南京的六部 , 而是南京的守备会议 。
南京平时是设立一个守备的 , 作为替天子看守南京的存在 , 南京守备大部分都是王公大臣 , 由守备、参赞、内守备等官组成的守备厅会议是南京最高权力所在 。
其中南京参赞机务是南京兵部尚书兼任的 , 所以南京兵部尚书也是南京六部里面作为特殊的存在 , 它确实是有实权的 , 而且很大 , 所谓:“故其职视五部为特重云” 。 北京六部里面吏部尚书被称为“天官”可以掌握四品以下官员的升迁任免名单 , 但是南京六部里面南京兵部则是最强的 , 可以掌握南京地区所有的军队训练和守备军费 , 也就是说南京兵部尚书关键时刻可以调动军队支援北京 。

文章图片
上图_ 明朝官员
不过南京的六部毕竟是陪都的六部 , 实际上无论干什么都得被北京六部牵制 , 比如说南京的礼部想要举行祭祀活动就得先请示北京礼部 , 南京吏部的官员选拔被北京吏部掌握 , 南京户部的财政得上交给北京户部 , 诸如此类 , 所以实际上也有不少南京官员感觉很憋屈 , 毕竟虽然名字差不多 , 但是实际上是人家的小媳妇 。
而南京各部里面最没事做的莫过于南京都察院 , 所谓:“院在太平门外 , 惟操江、全院间来同堂 。 四五御史 , 雍容礼貌 , 体统森严 , 殊无事事 。 ”当时南京的官员要是能够迁移到北京那可是天上掉馅饼全家烧高香 , 要是北京迁移到南京那基本上就和被炒鱿鱼没区别 , 不过也正好让明朝后期的党争有了一个缓冲地点 , 毕竟到了南京也给了失败者一个去处 , 实际上缓和了矛盾 , 不过对于很多人来说 , 到了南京六部基本上就只剩下混日子了 。

文章图片
上图_ 明朝版图
然而对于明朝来说 , 南京的地位并没有因为迁都北京而被降低到可有可无的地步 , 一旦南京发生灾祸 , 或者有外来首领归顺明朝的时候 , 南京仍旧是第一首选 , 毕竟南京是明朝的“肇基之地” , 而在明朝皇帝的心中 , 当北京不能呆的时候 , 去南京也是不错的 。
当然 , 除了崇祯 。
文:三清妙音
参考资料:
【1】(明)陈洪漠:《治世余闻》
【2】(明)陈子龙:《明经世文编》
【3】(明)程嗣功修、王一化纂
【4】(明)范景文:《南枢志》
【5】(明)方孝孺:《逊志斋集》
【6】(明)傅维麟:《明书》
【7】(明)顾起元:《客座赘语》
【南京|明朝留都南京的“六部”是怎么回事,又有哪些权限呢】文字由历史大学堂团队创作 , 配图源于网络版权归原作者所有
推荐阅读
- 分手后会彻底从你世界里消失的星座,从不停留,再不相见
- 航班延误|100多名中国乘客因美航班延误起飞滞留美国
- 中超又一位名帅面临下课危机,下一轮或决定去留,替代者浮出水面
- 海纳新闻|美军机又来!真当解放军好欺负?国防部早把话挑明不留一点面子
- 美军机又来!真当解放军好欺负?国防部早把话挑明不留一点面子
- 佛说:留三分余地,换十足人生
- 萌苗育儿|明朝之所以会灭亡,跟他的死有很大关系,他死后大明命不久矣
- 娱乐与趣闻|Bang保留世界赛希望!G2感慨LPL竞争激烈
- 新华网|中领馆:100多名中国乘客因美航班延误起飞滞留美国
- 新华网|100多名中国乘客因美航班延误起飞滞留美国
