「美国」“孟晚舟”事件重演!一天确诊四万五,美国真的要炸了!!

文章图片

文章图片

孟晚舟事件让我们知道美国现在已经一点脸面都不要了 , 万幸的是加拿大也不敢得罪我国直接将孟晚舟移交给美国 , 不然后果更加严重 , 可能很多人不知道美国已经不止一次想加方提出将孟晚舟移交给美国了 。 这回你们知道为什么我国外交部发言人在强调孟晚舟事件时要说“并将其安全送回中国”了吧?同时孟晚舟身边那些精悍的保镖是防谁的也显而易见了 。
现在美国非常乱 , 甚至已经乱到特朗普随时都会被揪出去暴揍的阶段了 , 但是就算到了这个时候特朗普依然强硬 , 除了对内的武力镇压外 , 对于直到今天依然在美的华人同样没有好脸色 。 此前美国曾经说过要求我国与他们恢复航道 , 但是美国现在都快成“病毒窝”了!谁敢跟他们恢复航道 , 这个直接导致至少数万人的美国航空公司人员失业 。
特朗普希望和中国通航来为美航回血 , 以达到经济复苏的目的 , 但是我国的态度非常坚定 , 眼见目的不能达成特朗普直接将目光转移到了在美的华人身上 。
近日有21名在美华人共花费了数百万人民币购买机票回国 , 不能直接回!所以要先到瑞士再转机到中国 , 但是瑞士方面却认为因为签证问题不能让这些人搭乘航班回家 , 结果这21人就被滞留在了瑞士 。
这还不算完 , 有一名身穿制服的瑞士机场工作人员告知华人:“你们必须达成下一个航班发挥美国 , 不然明天就会被带上手铐押回美国 , 并且没收护照 , 还得缴纳返航费用!”当时已经有数名留学生的签证已经过期了 , 也就是说根本就回不了美国 。
我国大使馆知道这件事后第一时间尝试与瑞士交涉 , 但是瑞士拒绝了我们的提议 , 现在我国大使馆依然在与瑞士沟通希望能够帮到这些滞留在瑞士的留学生 , 什么叫蛇鼠一窝?这就叫蛇鼠一窝 , 没一个好东西!因为瑞士在将这些华人送回美国前根本就没有与美国联系过 , 甚至连进入美国的凭证都没有!
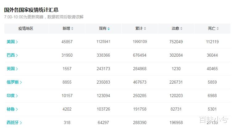
我真的很烦 , 也不看看他们这些国家都什么样了!昨天 , 仅仅一天美国的确诊患者增加了45857 , 再这么搞下去真的要炸了!还搞这些恶心人的小动作?
【「美国」“孟晚舟”事件重演!一天确诊四万五,美国真的要炸了!!】好消息是我国民航局表示:放宽国际客运航班限制 , 可适度增加具备条件国际航班增幅 。 这个政策下 , 对于在些在美的华人无疑是非常有利的 , 只不过这个政策对其他国家还可以 , 但是美国真的具备通航的条件么?
推荐阅读
- 美国_时政|参与者已达1500万~2600万,“黑命贵”何以成为美国史上最大运动?
- 【】疫情严峻 分裂加剧——今年美国“生日”不快乐
- 【】美国南卡罗来纳州发生枪击案 已造成12人受伤
- 抗议者在白宫外烧美国国旗意味着什么?抗议者在白宫外烧美国国旗具体情况
- 拉夏贝尔3年市值蒸发百亿这是真的吗?拉夏贝尔3年市值蒸发百亿事件始末
- 北京可控范围内病例还会确诊真相是什么?北京可控范围内病例还会确诊事件始末
- 海南农家水井出现大量桃花水母真相是什么?海南农家水井出现大量桃花水母事件始末
- 美国南卡罗来纳州发生枪击案真相是什么?美国南卡罗来纳州发生枪击案背后的真相
- 美国|国际锐评丨“开车睡着”的蓬佩奥们想把美国人民带向何方?
- 调查|公共卫生事件期间 对冲基金为何仍然坚持收取高额费用
