
文章图片
文章图片
文章图片
文章图片
文章图片
文章图片
网友都在说 , 现在郑爽的日子肯定不好过 , 被查税还是小事 , 搞不好被判刑 , 进了监狱 , 那才真的是爽翻了 。 当然了 , 把女儿视为赚钱工具的郑爽父母 , 现在又如何了呢 , 来看看现状吧 。
下图就是郑爽的父母 。
在没看到照片之前 , 柳林一直以为郑爽的父母颜值估计也挺高 , 看完照片有点吃惊 , 看来女儿一点没有遗传母亲的相貌 , 只有一小部分父亲的五官 。
郑爽要是长成她妈这样 , 恐怕就进不了娱乐圈了 , 其实她本来也就进不了娱乐圈 , 大家往后看 。
现在 , 郑爽母亲的演员梦 , 彻底碎了 , 郑爽现在已经不是什么做不做得成演员的问题 , 应该更加严重 。
除了颜值路人脸 , 郑爽母亲的修养和言行 , 也很小市民 , 张恒的微信截图 , 让网友们对这个明星母亲 , 刮目相看 , 这完全就是一个小市民泼妇的形象 。
郑爽现在被上海和国家税务局列入调查名单 , 等待着她和她母亲的 , 不再是明星梦和演员梦 , 估计是晚上睡不着的噩梦 。
那郑爽的父亲呢 , 就是下面这位 , 怎么说呢 , 只能说颜值上稍微比路人好一点点吧 。
郑爽之所以能进娱乐圈 , 这几天来在论坛上也被好多网友质疑 , 如此路人脸和低素质的人 , 是怎么踏入演艺圈的 。 有网友晒出郑爽读书时候的照片 , 那真叫一个丑 , 比普通路人的颜值还要低 , 说到这里 , 柳林觉得这个话题可以另外再写一篇文章 , 今天咱们先不谈这个了 。
昨天有网友拍到了郑爽的父亲 , 说他穿一双五元的拖鞋 , 在街边非常焦急地打手机 。
关于五元拖鞋的说法 , 柳林不太相信 , 而且也没有照片来证明 , 依照郑爽一家人平时的奢华作风 , 郑成华打死都不可能穿一双五元的拖鞋 。
从照片上看 , 郑成华明显憔悴了许多 , 有网友说一下子老了十多岁的样子 , 跟之前年轻又风光的那个郑成华 , 明显是两个人 。
现在的郑成华 , 不仅满脸憔悴 , 眼神呆滞 , 而且一脸的焦急 , 不知道是借钱借不到 , 还是朋友拉黑了他 。
之前的郑成华可不是这样 , 把郑爽外婆坐豪华飞机的照片晒到网上 , 虽然文字写的是郑爽多么孝顺 , 然而实际的目的 , 却连瞎子都看得出来 , 就是为了炫富 。
【郑爽|郑爽父母现状,一个憔悴一个梦碎】
向网友们炫富 , 这可是郑爽父母的日常了 , 全上海最好最贵的大闸蟹 , 大龙虾 , 只有他们家才吃得起一样 , 拍成照片晒到网上 。
除了炫富 , 郑成华还要向网友们炫耀他的悠闲和无聊 , 在浴缸里钓鱼 , 不知道是要向网友们表达自己的愚蠢 , 还是要表达自己的富有 。
也许只有郑成华自己才清楚 。
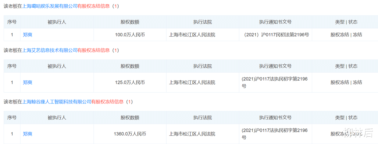
受到牵连的 , 还有郑爽父母的公司和商业帝国 。
郑爽关联的企业总共有十多家 , 其中郑爽100%持股的就多达七家 , 其余几家为郑成华和他人持股 。
柳林查阅天眼查的结果显示 , 目前郑爽还没有注销完的公司还有五家 , 不过多数已经被冻结了 , 资产最大的是最下面那一家 , 被冻结了1360万 。
基于郑爽公司的股权被冻结 , 郑爽的母亲也开始行动了 , 刘艳把自己担任法人的新沂萃珊雯影视文化有限公司 , 紧急转让股权 , 这一个动作可以救她的命 。
据业内资深律师解读 , 这个紧急转让可以规避自己单法人的法律风险 , 根据公司法第六十三条规定 , 单人法人的有限责任公司 , 应当对公司债务承担连带责任 , 具有无限责任 。 大家注意“无限责任”这个词 。
看来郑爽是完美遗传了她母亲的狡诈和算计 , 父亲的爱显摆和炫富 , 网友说在郑爽的身上看不到一丁点的优点 , 果然是这样 , 有什么样的家长 , 就有什么样的孩子 。
推荐阅读
- 江德福|《父母爱情》原著:江昌义给亚宁戴“钻石戒指”,是最无耻的报复 。
- 王子文|王子文吴永恩恋爱1年,两人现状有点出乎意料
- 鹿晗|初代顶流现状:李易峰变胖鹿晗回暖,杨洋综艺刷脸吴某凡查无此人
- 甄子丹|甄子丹女儿拍路边写真,身材苗条有模特范,完美遗传父母的高颜值
- 吴志雄|10位香港老艺人现状,吴志雄商演月入百万,廖伟雄养鸡身家过亿
- 伏明霞|44岁伏明霞现状!婚后5年生3娃,老公年近70仍身居高位
- 赵露思|出道六年零收入的女团现状:队长嫁圈外人,中国成员回国成综艺咖
- 孙平|《今生有你》谈静父母死得冤,聂宇晟恨孙志军,孙平是聂东远的孙子
- 江疏影|《父母爱情》江昌义为何不以江德福侄子的身份上岛?王燕凤的缘故
- 小贝|网红小贝饿了现状堪忧,手上有伤疤陷假吃风波,本人亲自下场辟谣
