等奖的中奖注数开出|20091期大乐透开奖结果,一等奖2注,彩民道:不能再执迷不悟了!
【 等奖的中奖注数开出|20091期大乐透开奖结果,一等奖2注,彩民道:不能再执迷不悟了!】大乐透20091期开奖结果,一等奖2注,彩民道:不能再执迷不悟了!
在生活当中我们会遇到好多无奈的事情。面对人生的无奈,我们能做的,就是选择时干干脆脆,不犹豫,选择之后,坦坦荡荡,不后悔。人生有很多选择都无法两全其美。既然是两难,选择谁都是对的,反之,选择谁又都是错。因为其中任何一个都是你想要的,同时总有一个是你永远的遗憾。

文章图片
幸福,不是别人的馈赠,而是心地淡然。只有甘于平淡,不争,不执着,不计较,才能感受到更多幸福。心态不同,人生的境遇便会天差地别。快乐,就是在平淡中窥见了神奇;幸福,就是于平淡中尝出了真味。快乐不是生活的赐予,而是心的领悟。

文章图片
哈喽,各位彩民朋友们,大家晚上好,就在今天晚上的9:00左右,超级大乐透最新一期的开奖结果公布出来了,超级大乐透第20091期开出的开奖号码是:12 16 20 23 31+05 12。超级大乐透本期全国销售金额为2.93亿,奖池滚存为8.63亿。

文章图片
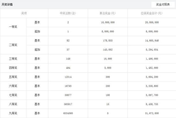
超级大乐透第20091期的开奖详情是:一等奖的中奖注数开出了两注,单注奖金有1000万元。二等奖的中奖注数开出了82注,单注奖金有17万余元。三等奖的中奖注数开出了149注,单注奖金有1万元。四等奖的中奖注数开出了494注,单注奖金有3000元。五等奖的中奖注数开出了12314注,单注奖金有300元。六等奖的中奖注数开出了16793注,单注奖金有200元。七等奖的中奖注数开出了30877注,单注奖金有100元。八等奖的中奖注数开出了563917注,单注奖金有15元。九等奖的中奖注数开出了6334560注,单注奖金有5元。

文章图片
超级大乐透第20091期的开奖结果公布之后,彩票店里有一位老彩民就是这样说的:“不能再执迷不悟了!我坚持了11年,连一个五等奖都没有中过,就中过三次六等奖,我感觉我是与一等奖无缘了,真的坚持不下去了!”

文章图片
【来源:熊猫搞笑】
声明:转载此文是出于传递更多信息之目的。若有来源标注错误或侵犯了您的合法权益,请作者持权属证明与本网联系,我们将及时更正、删除,谢谢。 邮箱地址:newmedia@xxcb.cn
推荐阅读
- 3月必吃的6种「春菜」,降压减脂又刮油,错过又要等一年
- 三星堆遗址|三星堆“迁都”猜想|自然灾害说:洪水、地震等致三星堆古城毁亡
- 你煮面条都是等到水开才下锅那你煮面肯定难吃,正确方法在这呢
- 三月不吃它太可惜!比韭菜香,比白菜鲜,错过再等一年
- 鼻炎|清鼻堂科普:鼻炎等孩子长大就好了?长大晚了
- 发作性睡病|30岁女子患发作性睡病 开车等红灯,眼皮自动合上了……
- 人工角膜|每70人只有一人等到捐献角膜!国产人工角膜来了!价格是进口十分之一
- 慢性乙肝|慢性乙肝,为什么要等到转氨酶高,才抗病毒治疗?医生告诉你原因
- 恒瑞|恒瑞、君实、诺和诺德等,6款新药纳入拟突破性治疗品种名单
- 詹姆斯·贝德福德|53年前被冷冻,等待2017年被复活的美国富豪,他的现状如何?
