如今|儿时的豪言壮语,十一年后的梦想,7岁时称高考要考720分如今兑现
这眼神一看就知道不简单。

文章图片
好家伙,晚上睡觉给压出来的,有必要这么狠吗"/>
文章图片
天道好轮回,苍天饶过谁。
潜逃16年杀人嫌犯没戴头盔被查
9月16日,江苏徐州,一男子骑电动自行车没戴安全头盔,被民警拦下检查。
民警要求该男子出示证件,男子却谎报妻子身份证号,在警方的进一步要求下出示自己的证件时,男子神情紧张试图弃车逃跑。

文章图片
随后民警很快将其制服,对这名男子进行身份核实,发现该男子居然是网上在逃人员。完美诠释了,什么叫天网恢恢疏而不漏。
2004年,男子受朋友指使,在湖北某造纸厂用匕首刺断他人股动脉。导致对方当场死亡,他因涉嫌杀人被湖北省仙桃市警方网上追逃。

文章图片

文章图片
经查,该男子隐姓埋名潜逃16年,并在徐州娶妻生子,目前男子已被刑拘。
就这心理素质到现在才被抓,已经够侥幸了。逃得了一时逃不了一世,终于看到了一个由巧合推动的有因必有果。

文章图片
潜逃16年如今却被一个头盔整进去了,不得不说命运有时候可真会捉弄人。
另外也说明了遵守交规的重要性,触犯刑法没抓到你,触犯交通法规抓着了。
河南出土青铜壶内不明液体被查明
前段时间,河南三门峡出土一鹅首曲颈青铜壶,该壶出自西汉初期墓葬中,且壶内装有黄褐色不明液体,其中不明液体成分引发网友广泛热议。

文章图片
经检测分析,壶内液体是西汉早期古酒,与长沙马王堆出土的医书《五十二病方》中的记载颇为相符,是可以止血消炎的药酒。
真藏实窖,千年陈酿。不得不佩服古人的智慧,历经千年,酒竟然还没挥发完。

文章图片
有网友表示,解析一下古酒的成分,优化一下或许还能再生产呢"/>
文章图片
故事的主人公是一个湖北女孩,今年高考唐楚钥以总分725分的成绩考入北京大学,是湖北高考理科第一名。众多网友膜拜了,确认过眼神,那是别人家的娃,咱羡慕不来。
唐楚钥7岁的时候,曾告诉妈妈:我以后最高分可能会考720分,最低600分,不,最低590分,不会低于这个分数了。11年的后她兑现了儿时的豪言壮语。

文章图片
现实版,我要很努力才能配得上小时候吹过的牛。所以说梦想还是要有的,万一实现了呢!
发明家爱迪生曾说过:天才百分之九十是汗,百分之一是神。可见得成功者的背后自然是下了番苦功夫,不出汗是绝不会出神的。
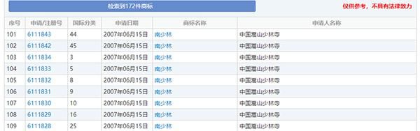
少林寺回应注册666个商标
近日,嵩山少林寺发函斥责某服饰品牌侵权事件引人关注。
据了解,嵩山少林寺截至目前一共申请注册666个商标,八九成带有“少林”字样,有网友质疑其是抢注。

文章图片
少林寺回应,少林寺的名称曾被人滥用,推出所谓“少林秘方”等,注册商标是为了保护少林品牌。
【 如今|儿时的豪言壮语,十一年后的梦想,7岁时称高考要考720分如今兑现】21世纪不像以前,想好好生存发展,知识产权保护不容忽视。少林寺作为一个知名品牌,本身有一定影响力,如果他们自己不注册,被外界抢注了,极有可能被不良商家滥用。

文章图片
为了防止品牌被滥用,看来佛门也难清净,不过这波操作必须抠个666送给他们。
推荐阅读
- 养老金|2021年上半年办理退休,养老金核算的这些知识要把握
- 量化|量化大师麦教授:美好的不确定性
- 浪胃仙|泡泡龙的离世给所有吃播提了醒,浪胃仙顺势决定“转行”,新职业认真的吗?
- 脑梗死|脑梗死和喝酒有没有关系呢?爱喝酒的朋友,应该看看
- 米歇尔·戴斯玛克特|海奥华预言的真相,地球人被带到九级文明,揭开神话背后的秘密
- 减肥也能吃的小零食,营养美味,低脂低热量,多吃也不怕!
- 1碗面粉,不加水,锅里蒸一蒸,做香甜可口的发糕,比蛋糕还香
- 扇贝最好吃的做法,适合冬日里吃,做法简单好吃不腻,家人超爱吃
- 七种颜色的布丁吃过没有?软糯爽口,Q弹软糯
- 爱吃南瓜饼的收藏,外酥里嫩,香甜软糯,饭桌上必备,做法超简单
