遗骸|最新疫情:新增8例本土病例,均在新疆

文章图片

8月14日消息 , 昨天(8月13日0—24时) , 31个省(自治区、直辖市)和新疆生产建设兵团报告新增确诊病例30例 , 其中境外输入病例22例(上海16例 , 陕西5例 , 四川1例) , 本土病例8例(均在新疆);无新增死亡病例;新增疑似病例2例 , 均为境外输入病例(均在上海) 。
新疆维吾尔自治区卫生健康委最新通报:8月13日0时至24时 , 新疆维吾尔自治区(含新疆生产建设兵团)报告新增新冠肺炎确诊病例8例 , 新增无症状感染者4例 , 均在乌鲁木齐市 。
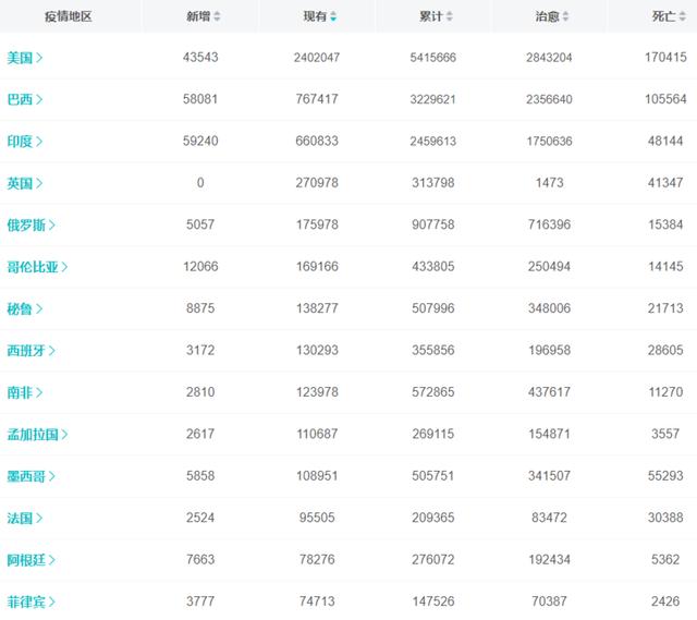
【遗骸|最新疫情:新增8例本土病例,均在新疆】全球累计确诊病例超过2097万例 , 死亡超74.8万例 。 印度、巴西单日新增均超5.8万例 , 美国新增超4.3万例 , 哥伦比亚单日新增超1.2万例 。
推荐阅读
- 一降一升电网销分化明显 疫情催生保险网销新模式
- 健康广东|8月18日广东疫情最新通报:广州深圳新增多少病例
- 陕西卫健委|8月18日陕西疫情最新通报:新增2例境外输入确诊病例
- 挺过上半年疫情冲击,中国电竞行业为啥更红火了?
- 新冠肺炎疫情|国家卫健委:17日新增确诊病例22例,均为境外输入
- FINA游泳世界杯因疫情推迟,济南站2021年9月举办
- 贺子秋|以家人之名一周更新几集 以家人之名更新时间最新剧情全集观看
- 武磊最新年薪曝光!相当中超本土国脚1/3,1年半放弃超4.7倍薪水
- 疫情|警惕!全球新冠累计超2199万例 欧洲疫情全面反弹
- 紫外线、黑色素通通走开!2020日本夏季最新话题「防晒产品」收拾整顿
