|AMD Zen 4处理器揭秘:5nm打造,首次使用L4缓存

文章图片

文章图片
AMD在今年年底就会发布自己新一代的处理器Zen 3 , Zen 3也是最后一代使用AM4接口的产品 , 所以虽然在更新架构后 , IPC比Zen 2处理器要高出接近20% , 但是在功能部分则没有太大的变化 , 依然是采用7nm打造 , 支持PCI-E 4.0以及DDR4内存 。 想要有很大的改变 , 就要看下一代处理器Zen 4架构了 。
说到Zen 4 , 这一处理器架构首次出现在2020 FAD大会上 , AMD将其放进了官方的路线图中 。 关于这颗处理器 , 目前唯一可以肯定的有两点 , 一是它会更换接口 , 不再支持AM4接口 , 二是Zen 4很有可能是AMD旗下第一款支持DDR5内存的处理器 。 而其他功能部分 , 像PCI-E 5.0、AVX512指令集等 , 暂时都只是传闻 , 没有得到证实 。
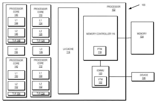
不过在AMD最新申请的一份专利中显示 , AMD未来的处理器将会首次采用L4缓存 , 而L4缓存主要是用于虚拟机环境 。 考虑到AMD的这份专利主要是针对未来的处理器 , 和Zen 3架构接近的Zen 3+基本应该是用不到这个功能 , 那么Zen 4就极有可能成为第一款采用L4缓存的AMD处理器 。
在目前的Zen 2架构中 , 处理器中每个CCD上含有2个CCX , 一个CCX有4个CPU核心;而一个CCD上面的2个CCX之间共享L3缓存 。 之前有爆料指出AMD即将发布的Zen 3架构中 , 原本的分离式的L3缓存改成了整个CCD共享同一组L3缓存 。 只不过这种做法对处理器底层架构会有较大的变动 , 所以目前暂时不知道这种改动会对Zen 3的处理器性能带来多大的影响 , 这恐怕只有等Zen 3处理器在今年发布后才有结果 。
不过不管是现在的Zen 2还是即将发布的Zen 3 , 都没有考虑到L4缓存的问题 。 而对于Zen 4而言 , 缓存部分的消息则是有可能从Zen 3的CCD共享L3缓存 , 变成CCX共享缓存 , 这样在缓存分配机制上又有了新的变化 , 说不定Zen 4的缓存会进一步增大也说不一定 。
不过从AMD的专利中显示 , 由于要支持Virtualized environments虚拟环境 , AMD将会在未來的新 处理器上新增L4缓存 , 该L4缓存可协助处理在CCD上L3缓存未命中或者发生错误的数据 , 提供最佳的高速缓存命中机会 , 同时为整个处理器服务 。
事实上 , 之前就有人分析过AMD会在Zen 4中加入L4缓存的可能 。 主要的原因是用作解决基于 Zen 4 的新Ryzen及EPYC处理器不断增加的核心数量 , 现在的处理器由于核心数量尚在可接受的程度 , 所以只需要L3缓存就足矣 。 如果AMD未來在Zen 4处理器中增加核心数量及提升频率时 , 可能就需要 L4缓存来补充了 。
目前唯一的疑问就是为什么AMD会说L4缓存是针对虚拟环境呢?而且AMD在专利中说得很清楚 , L4 缓存主要针对多用戶共享同一处理器或一个处理器的虚拟化环境 。 结合虚拟化环境的使用场所 , 再加上之前有人分析的L4缓存对更多核心的处理器有着明显作用时 , 那么我们可以初步认定 , L4缓存很有可能会使用在Zen 4架构的EPYC服务器处理器上 , 至于桌面版的Zen 4处理器 , 如果不是刚需的话 , AMD或许将L4缓存砍掉也有可能 。
【|AMD Zen 4处理器揭秘:5nm打造,首次使用L4缓存】当然即使没有L4缓存 , 也不妨碍我们对Zen 4处理器的期待 , 业界第一颗5nm的X86处理器 , 支持DDR5以及PCI-E 5.0 , 这都足以让人兴奋 。 只不过大家现在能做得只有等待 , 要知道Zen 4处理器要在2022年才会发布 , 而明年将是采用7nm+制程的Zen 3+处理器 。 所以从升级角度考虑 , 作为最后一代AM4接口的Zen 3处理器其实是值得大家升级的 , 然后等两年 , 主板和处理器都换 , 升级到Zen 4平台 , 似乎是很合理的方案 。
推荐阅读
- 东南亚|几十天后华为苹果的5nm处理器手机将至,你准备好了么?
- 机海战术!realme又一款新机入网,或采用骁龙765G处理器
- ZenFone|华硕ZenFone 7系列旗舰宣布:骁龙865/865+加持 8月26日发
- 酷睿处理器|遇事不决买小米,量子力学选有品-小米有品商城那些超值好物
- 酷睿处理器|又见新显存 GDDR6X到底是个啥
- 超能网|Hot Chips 2020:移动平台芯片专场,AMD和Intel复读之前的幻灯片
- 第十代智能英特尔酷睿处理器《漫威复仇者联盟》收藏版发布!
- |不撞南墙不回头,高通继续挤牙膏,推出不支持5G的处理器
- IBM|性能暴涨3倍!IBM Power10处理器宣布:首次7nm、至少30核心
- |客户电脑R9-3950X处理器坏了直接送给我,一开心我就给他上堂课!
