确诊病例|最新疫情:新增25例本土病例,均在新疆
8月8日消息,昨天(8月7日0—24时)31个省(自治区、直辖市)和新疆生产建设兵团报告新增确诊病例31例,其中境外输入病例6例(上海2例,浙江1例,山东1例,湖北1例,广东1例),本土病例25例(均在新疆)。

文章图片
【 确诊病例|最新疫情:新增25例本土病例,均在新疆】新疆维吾尔自治区(含新疆生产建设兵团)报告新增新冠肺炎确诊病例25例,新增无症状感染者8例,均在乌鲁木齐市。
北京无新增报告本地确诊病例、疑似病例和无症状感染者;无新增报告境外确诊病例、疑似病例和无症状感染者。

文章图片

文章图片
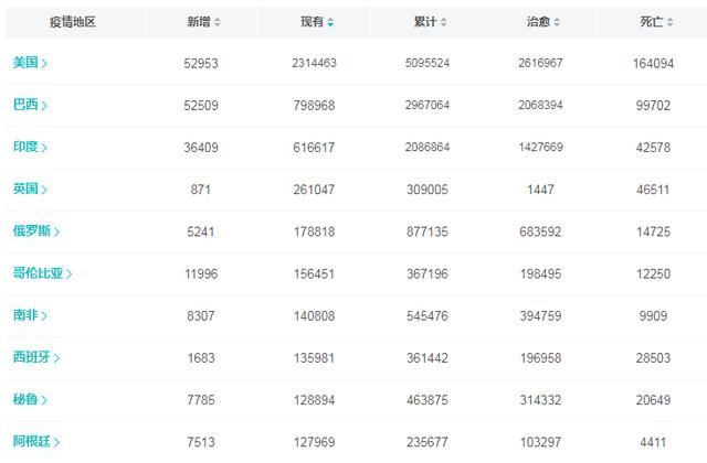
全球累计确诊病例超过1944万例,累计死亡超71万例。美国、巴西单日新增超过5万例,印度新增3万余例。
推荐阅读
- 健康广东|8月18日广东疫情最新通报:广州深圳新增多少病例
- 陕西卫健委|8月18日陕西疫情最新通报:新增2例境外输入确诊病例
- 新冠肺炎疫情|国家卫健委:17日新增确诊病例22例,均为境外输入
- 贺子秋|以家人之名一周更新几集 以家人之名更新时间最新剧情全集观看
- 武磊最新年薪曝光!相当中超本土国脚1/3,1年半放弃超4.7倍薪水
- 传染病|昨日新增确诊病例22例,均为境外输入病例
- 确诊病例|浙江新增无症状感染者1例 系从西班牙输入
- 确诊病例|江苏8月17日新增3例境外输入确诊病例 均为印尼输入
- 紫外线、黑色素通通走开!2020日本夏季最新话题「防晒产品」收拾整顿
- 确诊病例|陕西新增2例境外输入确诊病例和3例无症状感染者
