奖金|彩票全号买完大概要三千五百万,奖池累积过亿时为什么没人全买
作为投资,2010年、2013年、2014年这三年我分别投资过彩票。时间不同,方式也不同,在2010年间的时候还存在可以在网络上认购彩票,之后在2013年、2014年再投资的时候是不能在网络上买彩票的。那个时候,就有包全号段的玩儿法。也就是,奖池的资金很大,网络上存在集资买彩票或者说是组合买彩票,当然,金额是随意的,如果中奖了也会对于金额的占比进行分配。

文章图片
但2015年,财政部发布了《关于进一步规范和加强彩票资金构成比例政策管理的通知》。规定自2016年1月1日起,“”适当控制单注彩票最高中奖奖金额度”。这样基本上中奖最高奖金就是1000万元,扣税之后也就800万元。
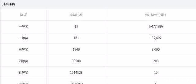
把一至六等奖的奖金相加1000万元+750万元+48.6万元+181.8万元+1374750元+5317515元=26496265元;彩票总中奖金额为26496265元;

文章图片
根据国家规定彩票中奖奖金需要纳税,按照奖金的20%纳税;
纳税金额为:26496265元*20%=5299253元;
中奖实际到手为:总奖金—纳税额=净得奖金,26496265元—5299253元=21197012元;其实真正把彩票号段买完到手的奖金只有21197012元;

文章图片
【 奖金|彩票全号买完大概要三千五百万,奖池累积过亿时为什么没人全买】所以说,买的永远都没有卖的精。彩票一定要理性对待,闲来无事买几块钱玩一玩,博一个赚500万的机会还好,如果真像题主这样的玩,还是做好倾家荡产,家破人亡的准备吧。
推荐阅读
- 梦幻西游:80W精锐第一法系戒指买家曝光,全号价值远超500W!
- 加拿大|男子中525万元,彩票公司却拒绝兑奖
- 加拿大石油公司|男子中525万元,彩票公司却拒绝兑奖
- 透露|如果彩票中了一千万, 扣完税就能把钱领走吗? 彩票站员工透露实情
- 王者荣耀|TS夺冠后,队员纷纷爆料奖金不发,经理声称工资没拖欠,网友:玩文字游戏
- 铁柱看西游|梦幻西游:精锐新晋物理系超级神豪,全号堪称行走的“劳斯莱斯”
- 彩票|商丘购彩者捡漏刮中体彩顶呱刮10万元奖金
- 一共|男子买彩票一口气中262个奖,一共赢得450万元
- 男子|男子钱包里翻出一张旧彩票,以为中奖百元结果领走500万
- 彩票中心|彩票中心通知男子中奖785万,6小时后道歉“搞错人了”
