三星|三星Note20 Ultra上手视频曝光;华为鸿蒙OS 2.0或9月发布

文章图片

文章图片

文章图片

文章图片

文章图片

文章图片

文章图片

文章图片

Hello 大家好 , 这里是「科技V报」 , 我是龙二Pro , 昨天 , 三星方面已经正式确定 , 将于8月5日召开新品发布会 , 发布全新的Galaxy Note 20系列旗舰手机 。 目前关于这款手机 , 网上也是流出了各种各样的爆料信息 , 现在呢 , 有爆料达人直接放出了一段Galaxy Note 20 Ultra的真机上手视频 ,
从视频中我们了解到 , Note 20 Ultra正面配备的是一块6.9英寸的显示屏 , 顶部采用了纯平的设计 , 底部S Pen手写笔的插孔从以往的右侧挪到了左边 , 但有趣的是 , 两代S Pen的手写笔都可以完美的插入 , 所以在笔的造型上 , 应该不会有较为明显的变化 。
背部的摄像头放置在左上角 , 整体的尺寸非常夸张 , 而且凸起程度非常的明显 , 甚至比现款的S20 Ultra还要更猛一些 , 预计规格为1.08亿像素主摄、加1200万像素广角 , 外加一枚1300万潜望式长焦镜头 。
【三星|三星Note20 Ultra上手视频曝光;华为鸿蒙OS 2.0或9月发布】对了 , 除了Note 20系列的消息之外 , 有外媒还放出消息称 , 三星从明年开始 , 也计划在部分机型上取消充电器的配备 , 算算按照三星每年的出货量 , 每台机器省下一套充电器 , 着实能省下不少的成本 。 现在越来越多的企业都有这个想法 , 大家觉得是不是应该支持呢?欢迎在评论区留言分享你的观点!
今天 , 预热了很久的iQOO Z1x正式发布 , 作为一款定位相对比较入门的机型 , 该机正面配备有一块6.57英寸的打孔屏 , 屏幕开孔放置在正面的右上角 , 刷新率更是做到了120Hz 。
其他方面 , iQOO Z1x搭载了高通骁龙765G移动平台 , 前置1600万像素自拍镜头 , 后置则是一组由4800万像素主摄+200万像素的人像景深镜头+一枚4cm微距镜头组成的AI三摄 , 内置5000mAh电池 , 同时支持最高33W的闪充 , 30分钟即可为手机补充超过50%的电量 , 此外 , 值得一提的是 , 该机内部还采用了PC级液冷散热系统 , 带来更为优秀的散热表现 。 iQOO Z1x上市提供6GB+64GB、6GB+128GB、8GB+128GB、以及8GB+256GB四个版本 , 海蔚蓝、锐酷黑、水漾白三种配色 , 最终价格分别定在1598、1798、1998和2298元 , 感兴趣的朋友可以关注一下!
昨晚 , 在高通公布骁龙865 Plus移动平台之后 , 华硕ROG游戏手机紧接着官宣 , 旗下即将要发布的ROG游戏手机3将会搭载这枚处理器 。
那作为ROG最新一代的游戏机型 , 新机除了会搭载865 Plus移动平台之外 , 还将有望配备一块6.59英寸 , 最高144Hz刷新率的显示屏 , 16GB的运存和512GB的存储空间 , 前置1300万像素自拍镜头 , 后置则是一组6400万像素的三摄 , 内置6000mAh的超大容量电池 , 续航估计大家是不用担心了 。
不过呢 , 堆了这么多料 , 该机的重量也是比较夸张了 , 达到了240g , 比iPhone 11 Pro Max的226g还要多出了14g 。 此前 , 有微博网友(数码闲聊站)曾曝光过一张ROG游戏手机3的真机背部谍照 , 可以看到其整体还是延续了上一代的设计风格 , 保留败家之眼的发光logo , 下方则是增加了腾讯游戏的字样 。
至于售价 , 有网友表示价格敢不敢更香点 , ROG方面则表示:这个必须很香 。 所以如果你对游戏手机比较感兴趣的话 , 可以关注一下这款ROG游戏手机3!
大家都知道 , 在去年的9月8日 , 华为正式推出了鸿蒙OS 1.0 , 近日 , 有媒体放出消息称 , 华为或将于9月11日举办华为开发者大会 , 届时全新的鸿蒙系统(HarmonyOS)2.0版本将正式发布 。
从此前华为公布的发展规划来看 , 鸿蒙OS 2.0将覆盖PC、手表、手环、车机等领域;而到了2021年之后鸿蒙OS 3.0 , 还将打通音箱、耳机、VR眼镜以及更多的设备 。
此前就有消息称 , 华为有计划推出全新的搭载鸿蒙OS的Mate Watch智能手表 , 预计会在下半年华为Mate40系列的发布会上同台登场 , 这样看来可能性也就非常大了 。
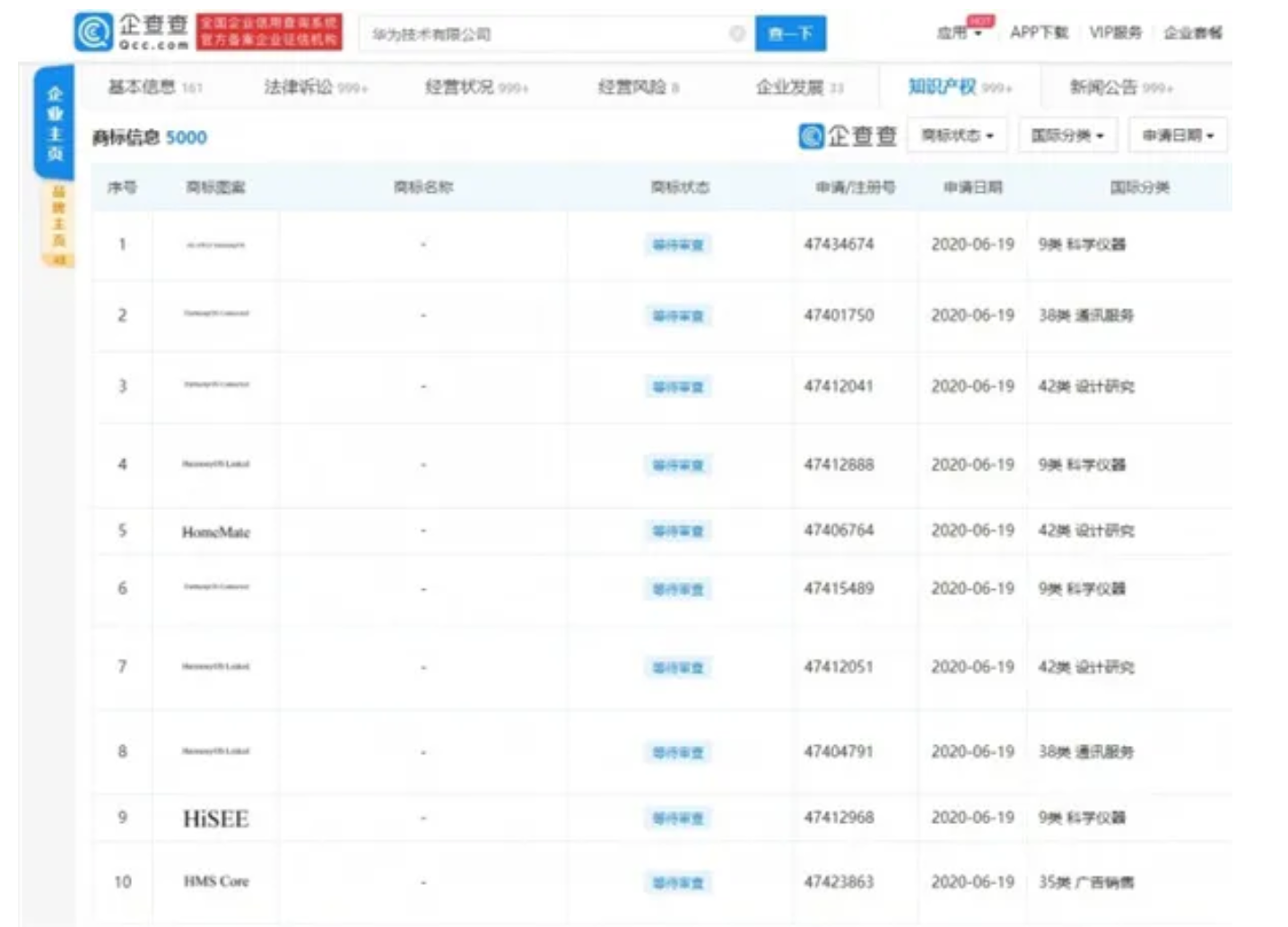
另外 , 最近我们发现 , 华为已经提交申请了一大批鸿蒙相关的商标 , 对此华为方面则表示 , 这是正常的商业流程 。
现在距离9月11日还有两个月的时间 , 各位不妨关注一下 , 看看全新的鸿蒙OS 2.0会给我们带来哪些不一样的新功能和新体验!
最近 , 有网友发现 , Redmi产品经理王腾在发微博时隐藏了小尾巴 , 此前一段时间的微博显示为Redmi K30 Pro ,
于是大家猜测 , 王腾这是已经用上了一款即将要发布的新机 , 更有细心的网友发现 , 其放出的游戏界面截图分辨率为2340×1080 , 与此前Redmi K30 Pro的2400×1080 , 略有区别 。
此前就有消息显示 , Redmi正在准备K30系列的另外一款新品 , 该机上市很可能被定名为Redmi K30 Ultra , 搭载联发科天玑1000+ 5G芯片 , 这是一枚8核心主频最高2.6GHz的处理器 , 安兔兔跑分超过53万 , 综合性能还是不错的 。
另外 , 消息中还提到 , Redmi K30 Ultra会采用升降式的全面屏方案 , 而这也将是业界首款升降式全面屏的天玑1000+机型 , 该机最快有望在本月内与大家见面 , 对红米手机感兴趣的朋友 , 可以提前的了解一下!
推荐阅读
- 漏洞|华为称继续向预装Google Play手机提供更新;Mac纳入苹果独立维修商维修范围;三星智能手机生产
- 三星galaxy s10|1800元拿下三星S10,拿下的同时,好想把兜里的iPhone XR卖掉
- iQOO手机|120W快充手机又多一部!15分钟充满+定制三星屏,价格更便宜
- 小米手机|价格相差1800元,小米10至尊版对比三星Note20,胜负一目了然
- 交管12123|Nreal携手LG、三星开始销售轻型混合现实眼镜!售价4124元
- 三星S21基本坐实,屏下前摄+120Hz刷新率+VC液冷,明年初发布
- 三星手机|韩国人真的"爱用国货"吗?
- 三星Note 20 Ultra屏幕实际是120Hz,60Hz,30Hz,10Hz不断转换
- 松下|该手机荣获“ 2020-2021年最佳智能手机”不是苹果、三星和华为
- 小米科技|华为麒麟、联发科天玑、高通骁龙、三星Exynos,哪个你觉得最强?
