华为p10|佳能EVF新专利

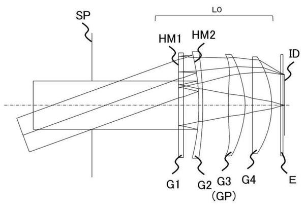
佳能公布一项有关紧凑型电子取景器的新专利2020-95073A 。 这款用于无反的EVF目镜处采用折返光学结构(镜组) , 其技术原应用于手机摄像头镜头 , 在尺寸受限的情况下延长光路 。 今后相机背部不会因为EVF而突出一大块 。 有理由相信这个专利最终落实的可能性很高 。
【华为p10|佳能EVF新专利】via CW
推荐阅读
- SUV|美国再拉黑38家华为子公司!升级打压华为获取商用芯片
- 美将38家华为子公司列入实体清单|美将38家华为子公司列入实体清单 中国已别无选择
- 漏洞|华为称继续向预装Google Play手机提供更新;Mac纳入苹果独立维修商维修范围;三星智能手机生产
- 美将38家华为子公司列入实体清单|美将38家华为子公司列入实体清单,限制它们获得某些“敏感技术”
- 美国进一步禁限:欲切断华为芯片供应,并将华为38家子公司列入实体清单
- 东南亚|几十天后华为苹果的5nm处理器手机将至,你准备好了么?
- 环球网|持续施压!蓬佩奥炫耀美商务部将38家华为子公司列入“实体清单”
- 华为汽车的“闪电战”和“持久战”
- 华为证实:正努力研发搭载全屏指纹识别、屏下摄像头手机
- 一条消息传来!华为突然宣布决定,连汽车零部件也要造?
