「中国质量万里行」iPhone 12外观大改,背面 Logo 加入闪光……
文/哎咆科技
哎妹打算去一个免签 , 人少 , 根本不需要排队 , 环境也好的地方 , 没强制性消费还全面覆盖 Wi-Fi 的地方 。 不要羡慕我 , 因为我说的地方是——公司 。
在这个美好的日子里 , 哎妹也来点不一样的 iPhone 。
电磁炉摄像?
还记得之前咆哥爆料过的明年 iPhone 设计大改吗?
iPhone 12 取消了刘海 , 边框中隐藏了前置摄像头等一系列传感器 , 这才是真·全面屏呀~
而且今天 iPhone 12 的高清渲染图也已经流出 , 采用了类似 iPhone 4 的中框设计 , 不再是圆滑的外观 。
iPhone 自从诞生以来 , 摄像头越来越多 , 越来越好用 , 但这背后的 Logo 太一成不变了 , 有点无趣 。
虽然今年的 iPhone 11系列有点改动 , 将背部 Logo 居中 , 同时取消了“iPhone”的字体标识 , 但这点小变化平时几乎不会注意到 , 可以忽略不计 。
今天哎妹给你们来点与众不同滴 , 未来的 iPhone 背面 Logo 会发光 , 还是支持个人定制那种哦 , 苹果要对 iPhone 背面 Logo下手了?
有多酷炫?有图有真相 。
哎妹修改的 logo「呼吸灯」
这是国外大神手动修改的 , 大家看看效果就好 。 哎妹要说的是官方带灯 。
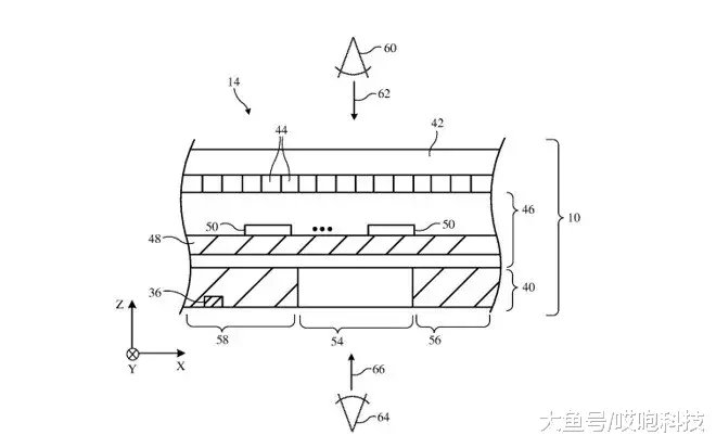
据 The Verge 报道 , 苹果向美国专利商标局申请了一项专利 , 未来 iPhone可能在背面 Logo 采用电子控制的装饰元件 , 用户可以通过“设置”改变苹果?标志的颜色、显示效果等 , 定制 iPhone 的风格 , 使用背面的标志作为通知灯 。
这对于咱来说都不是新鲜事了 , 早在几年前 , 就看到过很多华强北的大神们制作出各种颜色的 Logo 灯 , 看起来相当山寨 , 咆哥手里还有一个呢~
还有将 iPhone 7 底部的两个扬声器孔改造成可发光孔的 , 底部 LED 还会随着歌曲或者铃声的播放一闪一闪 , 这么一比 , Logo 发光都不算啥 , 想搞都能搞 。
虽然看起来很山寨吧 , 但还是有部分手机采用了背后 Logo 发光的设计 , 比如雷蛇2、摩托罗拉One Zoom 。
Razer Phone 2
One Zoom 使用摩托罗拉的后标作为通知灯 , 没有像之前那样使用指纹传感器 。
摩托罗拉One Zoom
哎妹觉得这个功能主要还是提醒作用 , 假如你的手机面朝下放在桌上 , 来了一条消息背面的Logo一闪一闪的(尤其是晚上) , 提醒你别错过任何重要的消息 , 还是很有帮助的 。
当然最重要的还是 , 让别人知道我用的是 iPhone
「中国质量万里行」iPhone 12外观大改,背面 Logo 加入闪光……。之前苹果笔记本 MacBook 的 Logo 是可以发光的 , 不过2015年的时候 , 苹果公司放弃了这一设计 。
「中国质量万里行」iPhone 12外观大改,背面 Logo 加入闪光……。哎妹觉得“去掉发光 logo”的主要原因还是因为厚度 , 屏幕变薄 , 有过有灯的话 , 厚度就没有那么好减少 。
另一方面也是为了统一设计语言 , 与 iPhone、iPad 等产品一致 。 现在苹果可能是重新考虑了这项功能 , 想要把“发光Logo”添加回来?
如果真如爆料所言 , 无刘海+发光Logo , 哎妹肯定会买爆!你们觉得呢?
不过苹果申请的专利多了 , 虽然苹果正在考虑这项功能 , 但并不一定意味着它会在出现产品中 。
---------------------
特别申明:首先感谢原作者的辛勤创作 , 转载只是为了更好的传播新闻资讯之目的 , 未与作者取得联系 , 如有侵权 , 请原作者速与我们联系 , 我们将第一时间删稿!
推荐阅读
- 美国用“核试验”来恫吓中国“核裁军”,那是赤裸裸的核讹诈
- 颠覆未来战场?美军成功测试新武器,但中国早用来砍树了
- 三国杀:卡牌是否应该“界限突破”?且看这版「界闪电」设计如何
- “神童”将加入NBA发展联盟?未来的中国男篮,强敌恐不止日本!
- 疫情想借疫情敲诈中国是白日做梦!王毅这些话掷地有声
- 「周榜」9件最抢手美衣
- 岂有此理,6000华人宣誓加入美国,扬言中国无权取消他们国籍
- 中国停止采购澳大利亚煤炭?澳政客风声鹤唳,这就是惹错人的后果
- 中国渔民再次立功! 巨大宝藏重见天日, 美国请求被拒之门外!
- 车质量可靠排行榜,实至名归,第五名让人意外
